The diagram makes it look a little more complicated than it really is.
A Schrader valve is one type of valve stem. It's unclear to me what particularly makes it a Schrader valve, though some of the other types of valve are thinner or longer etc.
The valve core is a "poppet valve", also called a mushroom valve because of the mushroom shaped plug inside it.
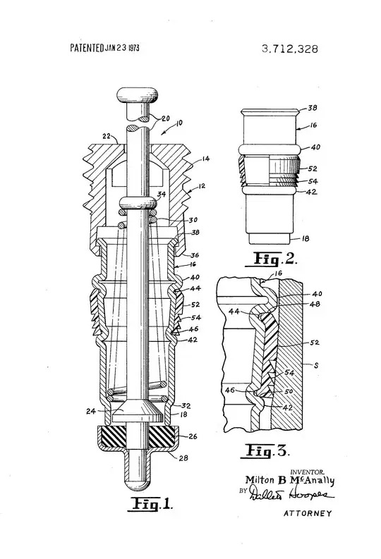
The following description uses directions like top, bottom, etc, in reference to the drawing below.
You have a tube (the patent calls it a "shell") that air can flow through, in either direction.
That tube is plugged by a mushroom shaped plug on the inside end (labeled #28, at the bottom of the diagram below) that holds a sealing washer (labeled #26)
The mushroom shaped plug (#28) is attached to a valve pin (labeled #20, the number is at the top of the diagram), that goes through the tube and sticks out the other end (the outside end, again that's at the top of the diagram).
The pin keeps the mushroom shaped plug lined up with the tube and provides a way to push the valve open from the outside.
Inside the tube, wrapped around the pin, is a helical spring (labeled #30, that's on the right side of the left-hand drawing, and most of the spring is not rendered in that drawing, just the top and bottom of the spring).
The helical spring pushes the pin upwards/outwards, making sure that the valve closes, i.e. the spring pushes the pin upwards, which pulls the mushroom/poppet at the inner end tight against the inner end of the tube. The compressed air inside the tire helps shove the valve closed also, but the spring makes it more reliable.
As you can see in the diagram, there are a lot more fiddly little details, but the above is the basic idea:

Here's a key bit of description:
It comprises a core body 12 including a machined head 14 and a drawn
sheet metal shell 16. The lower end of the shell presses a seat 18. A
valve pin 20 is supported at its upper end in a conventional bridge 22
and centered at its lower end by a conical centering flange 24. A
sealing washer 26 is supported in a valve head 28 mounted on the
bottom end of the pin 29.
A helical closing spring 30 surrounds the pin 20 and is disposed
between an upwardly facing shoulder 32 formed in the shell and a stop
shoulder 34 on the pin as is conventional.
For more details, check out the patent for the Schrader valve, patent #3712328, January 23, 1973. Read the whole patent here:
https://patents.google.com/patent/US3712328A/en?oq=3712328