I didn't want to glue/screw/nail the top to the base; I just wanted to place it over the top.
That will not be very safe, because wood on wood doesn't generate much friction a surprisingly small bump can upset an unfixed tabletop and send it crashing to the ground. Many a woodworker test-fitting a top to their leg assemblies has found this out the hard way after bumping it with their hip!
If you're absolutely sure you don't want to fix the top in place I would highly recommend installing rubber pads or small strips of non-slip tape on the X frames to help the top not slip as easily if knocked.
how can I accomplish building this?
There are numerous joints that could be used here, including some unusual three-way joints that would involve some seriously accurate handwork. But I think one of the simplest options will suit you as it's easily done and should be strong and secure.
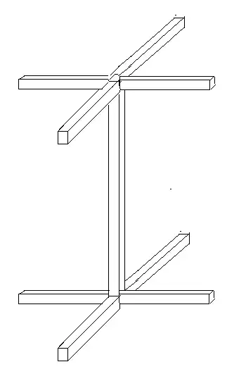
You start by making the two X frames, which will be joined in the centre using half-lap joints (UK: cross-halving joints). Cut these for a nice hand-tight fit, glue and clamp them firmly in the centre.

Source: Good Wood Joints, by Albert Jackson & David Day.
Once the glue has set on those you can then drill vertically through the lap (clamp firmly to a scrap of wood to minimise blowout at the back when the bit exits) and drill a matching hole in the centre of the leg for a dowel, I'd suggest using 3/8" dowel here.
This dowel will in effect become a round tenon, and the drilled hole through the lap joint is the mortise. So this is a 'cheats' way of doing a mortise-and-tenon joint, one of the strongest joints in woodworking.
Drill the hole in the leg slightly deeper than necessary to give a little room for excess glue to accumulate. If you buy smooth dowel you should prepare it for joint use by grooving it somehow, see this previous Q&A.
Glue up, clamp carefully so the X shapes remain square to the leg and once the glue has set you're ready for finish.