A soft focus lens is one that offers a photographer control over spherical aberration, an optical effect caused by a spherical lens (which most camera lens elements are) such that light rays entering the lens near the edges are focused more tightly than light rays entering near the center. The result of spherical aberration is that the plan of focus is curved, rather than flat.
Modern lenses often try to correct spherical aberration with aspherical lens elements or other advanced optics. A soft focus lens is a lens designed to not only keep spherical aberration, but allow the photographer to control the form of the out-of-focus blur circles created by the aperture. Defocus control is exactly what it sounds like, a way to control the way your lens "defocuses" light. This is in addition to the ability to also control the focal plane. The specific mechanics of how a soft focus/defocus ring works is unknown to me, however it could be implemented by a slightly movable diaphragm. It may also involve adjustable or movable special lens elements. (I have been unable to find any information on the subject, and the exact mechanics of it currently escape me.)
UPDATE: Found a PDF that describes the defocus control mechanism here Summary:
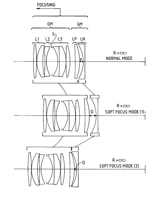
An aberration-controllable optical
system has a large angle of view and
is capable of continuously varying
spherical aberrations from negative
values to positive values, including a
point at which a sharp image can be
produced. A master lens group includes
a furst sub lens group having a
positive refractive power, a second
sub lens group having a negative
refractive power, and a third sub lens
group having a positive refractive
power in this order from the object
side of the system. The converter lens
group includes a positive lens element
and a negative lens element in this
order from the object side. The
on-axis distance of the air gap which
is formed between the positive lens
element and the negative lens element
can be controlled to mainly change the
spherical aberrations in the system.
When fm is a master lens
group focal length and fc
is a converter lens group focal
length, the aberration-controllable
optical system satisfies a condition:
-1 < fm / fc < 0
The master lens group can include a
front group and a rear group. Focusing
at a short distance may be conducted
by moving the front lens group and the
rear lens group independently of each
other.

By adjusting "defocus", can control the shape of out of focus bokeh:

In the image above (from wikipedia), you can see the effect of spherical aberration. The top row demonstrates a point light source that has negative spherical aberration, or blur circles with darker edges and brighter centers behind the focal plane and brighter edges and darker centers in front of the focal plane. The center row represents balanced spherical aberration, where focus in front and behind the focal plane is even. The third row represents positive spherical aberration, where blur circles with brighter edges and darker centers occur behind the focal plane, and darker edges and brighter centers in front of the focal plane.
With a defocus ring, you can choose how your camera "defocuses", in addition to choosing how it focuses. You can make the bokeh in the background clear, sharp circles with bright rings, and the bokeh in the foreground smooth and soft like photonic butter. Or you can choose the inverse, whichever fits your fancy. With a thin enough focal plane, a soft focus lens can create amazing images like this:

(Reference: David Pinkerton @ Flickr)
The above image was taken with the Nikkor 135mm f/2 lens with defocus control, set to REAR f/4. Note the dreamy effect of highlights right around the plane of focus, and the ringed background bokeh. Both are effects of positive spherical aberration caused by the brighter edges and darker centers of OOF blur circles. Foreground blur will be smooth and creamy without the dreamy effect. For portraits, the same effect can be used to give that dreamy glow to hair, earrings or glasses, anything that produces a bright specular highlight.
The below image was taken with the same lens, but with defocus control set to center f/2.
(Reference: David Pinkerton @ Flickr)