3

I am new to circuits and have a very basic knowledge, and am currently interested in building a simple circuit that would take 2 DC inputs each of 12V 1.5A and output 1 x 12V 1.5A input even if 1 of the inputs fails.

I believe the inputs will have to be regulated and stabilized such that the output is always 12V and 1.5A. The aim of the circuit will server as an automatic transfer switch between the the sources for use with a computer modem.

Would appreciate your help in guiding me where to look at and start with.

Voltage Spike
  • 82,181
  • 41
  • 84
  • 220
Jon
  • 33
  • 1
  • 3

3 Answers3

4

If each input is 12V then they can be tied together with schottky diodes to form a common input. Should one supply fail the other will still provide power to the output. The net voltage after the diodes will be slightly less than 12V - probably about 11.5V and if this is critical a boost converter can be used afterwards to restore 12V. The boost converter, if designed correctly could also take inputs that are from 5V to 20V and still provide a 12V output. This would be a buck-boost switching regulator.

However, if you can live with 11.5V, just use two schottky diodes rated at probably 5A each.

enter image description here

Andy aka
  • 456,226
  • 28
  • 367
  • 807
  • Would the diode in the link work in this case please? http://uk.rs-online.com/web/p/rectifier-schottky-diodes/7384790/ – Jon Jun 27 '13 at 19:36
  • That would work well - it would "lose" about 0.45V at 1.5A droping the incoming 12V to about 11.55V. Do you understand how to connect them Jon? – Andy aka Jun 27 '13 at 21:03
  • Hi Andy, thanks for your input. This sounds to be the right solution for me. Not sure yet re: the schematic layout - but will Google that up. Feel like I need a crash course. I am hoping to put this in a small 40mmx40mm box. Any concerns in terms of heat being generated by the diodes? Thanks. – Jon Jun 28 '13 at 09:52
  • Diode heat - they will pass 1.5A and drop 0.45V - the power is less than 700mW - they will get a little warm so maybe some heatsinking would work - glue them on a metal plate might be a good idea? – Andy aka Jun 28 '13 at 10:28
  • @Jon picture added to answer – Andy aka Jun 28 '13 at 22:29
  • Cheers Andy :) I am now down to doing this... – Jon Jun 28 '13 at 22:46
  • @Jon Please let me know if it works dude – Andy aka Jun 28 '13 at 23:00
  • Thanks. Two more questions re: output, A. If I place a linear regulator just before output like this one http://uk.rs-online.com/web/p/linear-voltage-regulators/6616235/ , will that result in a stable output at 12V? B. Need I check current to ensure it is 1.5A at output not to incur any damage to the device connected? – Jon Jul 02 '13 at 05:18
  • This is a 12V linear regulator and it needs at least 14V (from memory) to regulate to 12V. As I said in my answer, if you need to take the 11.5V and make 12V you need a boost regulator. Check out Linear technology - they have a PSU selection app where you can enter input voltage range (say 11 to 12V) and output requirement (say 12V 2A) and it will find a device for you. However, they are more complex circuits than linear regs. If your o/p current is 1.5A a boost reg is probably the best way forward. – Andy aka Jul 02 '13 at 07:06
  • Thanks - for those who may be interesting in downloading the PSU design app, it can be downloaded from: http://ltspice.linear.com/software/LTpowerCADII.zip – Jon Jul 02 '13 at 08:05
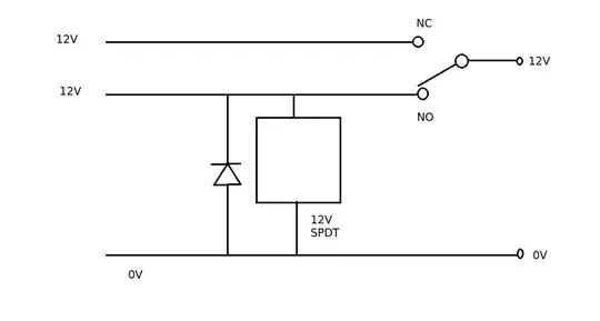
3

An old solution to the problem but its nice and simple. Just use a SPDT break before make relay. If the bottom supply drops out it switches over to the top supply. You will lose the 12V for a brief time as it switches over and it will take a little bit of the current.

enter image description here

JIm Dearden
  • 19,036
  • 30
  • 40
1

If you want to do diode ORing as Andy Aka suggested but you don't want the voltage drop, you can construct an "ideal diode" using a MOSFET transistor. Search for "ideal diode MOSFET circuit". Also, there are chips available that act as ideal diodes, for example, the LTC4358 (mfg page) which will handle up to 5A.

DoxyLover
  • 8,090
  • 1
  • 19
  • 24
  • I have to say, outage is critical here. Thanks for your answer. – Jon Jun 27 '13 at 19:47
  • This solution might be a little tricky to avoid the parasitic reverse diodes in the mosfets taking the "good power" into the bad (potentially shorted) power. I'm trying to read between the lines of your circuit so forgive me if I've done it injustice, – Andy aka Jun 27 '13 at 23:04