I want to use boost converter to to supply higher voltage to LED .I have confusion about which smps power supply to use on input side. From specs. I am unable to understand why input current limitation is given?? and what happens if higher input current supply used?? Some websites blogs saying that in electonics devices donts consume power more than that they requires. and What about linear voltage regulators??In datasheet of regulators they also mention input current limitations.
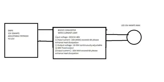
Below is of details of my project and spec: 1)SMPS spec.=12V 20 amps 2)led spec =35v 4 amps I am using this boost converter https://www.newegg.com/Product/Product.aspx?Item=2S7-00MH-02G82 boost converter spec:
Input voltage : DC8.5V-48V []Input current : 10A (MAX) exceeds 8A please enhance heat dissipation []Output voltage : 10-50V continuously adjustable 12-80V fixed output [Output current] : 10A MAX exceed 6A please enhance heat dissipation
