There are a few very practical reasons why turbine engines use inner shafts/spools.
First, jet engine spools are very high speed rotating parts, this means they are subjected to high amounts of centripetal force. Centripetal force is calculated by $F=mr\omega ^2$ were F is Force, m is mass, r is radius of gyration and $\omega$ is angular velocity. So obviously the larger the radius of gyration the higher the forces that the rotors must carry. To reduce the radius of gyration manufacturers try to push the mass of the rotors as close to the centerline of the engine as possible. In the picture below (source) I have circled the HPC, HPT and LPT rotors. You can see how they are very thin under the blades and then have a large bulb very close to the engine centerline. Moving all of this mass towards the centerline, lowers the radius of gyration, and thus reduces the centripetal force. By reducing the centripetal force, you can reduce the strength of the rotors as well, since they don't have to carry as much load. This allows you to remove mass from the rotors, further reducing the centripetal force and overall weight of the engine.

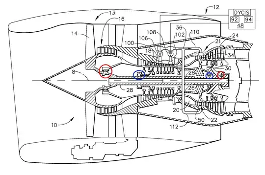
Next, you want the bearings to be as small as possible. This is because as the radius of a bearing increases the linear velocity of it also increases, via this equation: $v=\omega r$. The faster the linear velocity the higher the wear, the greater the friction and greater the heat generation. So there is a push to make the bearings as small as possible given other constraints. In the image below I have circled the bearings, the red circles are on the low pressure spool bearings, while the blue circles are the high pressure spool bearings. This isn't always done, but it is becoming very common for the aft high pressure bearing to actual ride on the low pressure shaft. Typically these shafts spin in the same direction, so the bearing speed is reduced by this equation $\omega_{AftHPbearing}=\omega_{HP}-\omega_{LP}$. Bearing friction reduces the efficiency of the engine, and bearing wear is a significant maintenance driver.

(This is getting long so I am going to truncate the rest) There would be many other issues as well, such of blade mounting (dovetails in compression instead of tension), blade design (compression instead of tension), possible increase in leakage paths, containment, stator structure design (now all of your stators are attached to a stationary shaft that can only be supported at the ends), control of variable stator vanes, getting the fuel into the combustor, how do mount the engine, etc.
Edit: Just reread the question and realized you were also talking about making the combustor bigger. Modern combustors are getting smaller and are much smaller than they were in the original jet engines. You can also see in the pictures above, they already don't use all of the space available to them and if they needed more space the arm (shaft) connecting the HPT and HPC could be lowered some more.